网站首页
HOME
产品中心
PRODUCT
荣誉资质
Honor
新闻动态
NEWS
关于我们
ABOUT US
网站首页
产品中心
荣誉资质
新闻动态
关于我们
行业动态
行业动态
公司新闻
行业动态
您的位置:
首页
>
主页
»
新闻动态
»
行业动态
行业动态
2026-01-28 22:01:57
MORE
CES 2026:Smart Eye展示实时酒精损伤检测功能 带来多种车内智能技术
...
CES 2026:Smart Eye展示实时酒精损伤检测功能 带来多种车内智能技术
...
行业动态
2026-01-28 22:01:57
MORE
中鼎墨西哥工厂开建,中国供应链企业的全球化进阶
...
中鼎墨西哥工厂开建,中国供应链企业的全球化进阶
...
行业动态
2026-01-28 22:01:54
MORE
奇瑞iCAR V27量产车下线 将于2026年一季度上市
...
奇瑞iCAR V27量产车下线 将于2026年一季度上市
...
行业动态
2026-01-28 22:01:52
MORE
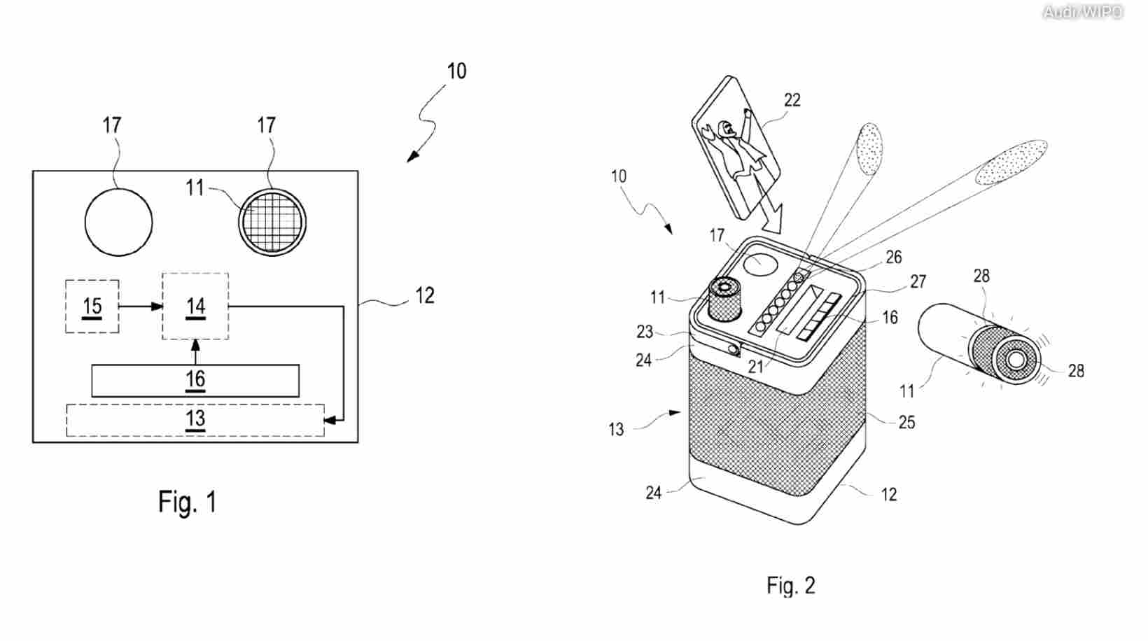
奥迪申请车载卡拉OK模块 实现边走边唱
...
奥迪申请车载卡拉OK模块 实现边走边唱
...
行业动态
2026-01-28 22:01:50
MORE
CES 2026: STRADVISION与AMD联合演示多摄像头感知软件
...
CES 2026: STRADVISION与AMD联合演示多摄像头感知软件
...
首页
上一页
98
99
100
下一页
末页