骏捷盾汽车配件中心

行业动态

通用汽车申请新型自适应减震器专利

2026-01-29 02:05:50

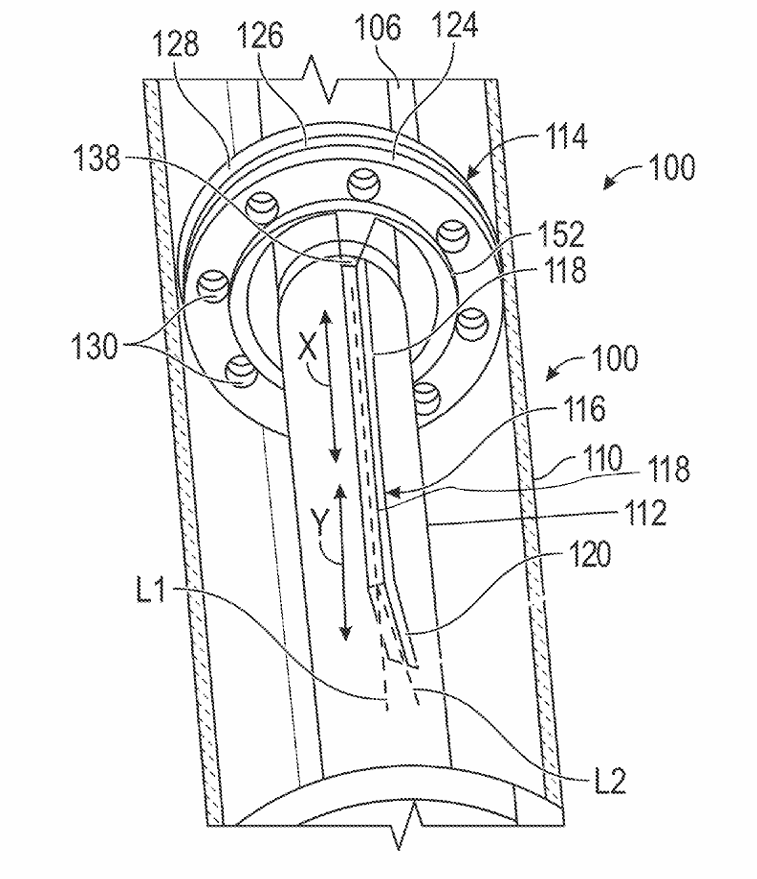
盖世汽车讯 据外媒报道,通用汽车公司已提交一项自适应减震器设计的专利申请。该专利申请的专利号为US 2025/0361920 A1,于2024年5月22日提交至美国专利商标局(USPTO)。相关文件于2025年11月27日公布,并列出了多位印度工程师作为发明人,其中包括Vijaiya Ramakrishnan、Biju Thomas和Rama Potharaju。

根据专利描述,通用汽车的这种自适应减震器系统能够根据悬架运动机械式调节阻尼特性,而不是仅仅依赖电子设备或外部控制系统。该设计的核心是一根导杆,其外表面形成有特殊形状的导向槽。该导向槽包括一个中心部分,两端各有一个或多个倾斜或螺旋状部分。这些凹槽形状有助于减震器适应不同的驾驶条件。

通用汽车申请新型自适应减震器专利

图片来源:USPTO

减震器内部采用活塞杆组件,该组件包含一对阀片和一个止推轴承。每个阀片上都有多个流体孔,用于控制油液在减震器内的流动。阀片上延伸出的凸起与导杆上的导向槽相互作用。当悬架运动时,这些凸起会沿着导向槽的形状移动,从而使阀片彼此相对旋转。

在低振幅、高频率的悬架运动期间(例如由轻微颠簸或路面不平引起的悬架运动),阀片对齐,流体可以自由地流过对齐的孔口,从而产生较低的阻尼力。随着悬架运动的振幅增大、频率降低(例如经过较大的颠簸、坑洼或激烈转弯时),阀片的凸起会进入导向槽的倾斜或螺旋部分。这种移动会导致阀片旋转并彼此错位。

通用汽车申请新型自适应减震器专利

图片来源:USPTO

当阀片错位时,减震器内的流体流动会受到阻碍。这会增加阻尼力,从而在更高负载或更激烈的驾驶情况下提供更好的悬架控制和稳定性。

与目前许多严重依赖电子传感器、控制模块和执行器的自适应减震器相比,该系统依靠内部机械运动来自动调节阻尼。这既能提升日常驾乘舒适性,又能增强严苛路况下的稳定性,同时还能减少对复杂电子控制系统的依赖。